

判決字號:智慧財產及商業法院111年度行專訴字第59號
系爭專利:電動按摩床
爭點:公母黏扣帶與調整柔性帶是否屬於輕易完成
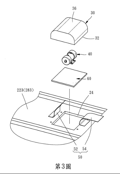
系爭專利請求項1:一種電動按摩床,包含有:一床架22,具有一架體、以及一貫穿該架體頂面與底面之鏤空部;一包覆件30,其局部容設於該床架之鏤空部,該包覆件係由吸震材質製成且具有一頂面、以及一容槽由該包覆件之頂面凹設;一震動馬達40,容設於該包覆件之容槽;以及一支撐件50,設於該架體之底面283,該支撐件50並貼抵該包覆件30之底面以支撐該包覆件30,該支撐件50係由互相黏扣之一公黏扣帶52、以及一母黏扣帶54所組成,該公黏扣帶52與該母黏扣帶54之一端均固設於該架體之底面,該公黏扣帶與該母黏扣帶之另外一端互相黏扣在一起並貼抵並支撐該包覆件之底面。

證據2(CN201280075494.9):
本发明涉及床垫基座,更具体地涉及床垫基座的振动装置和方法。馬達114、外殼122、襯墊126,柔性帶146每個都包括可調整長度,每個帶包括第一區段158、第二區段162和相互連接第一、二區段158、162的帶扣166。
上訴人主張:證據2並未揭露系爭專利「該支撐件係由互相黏扣之一公黏扣帶、以及一母黏扣帶所組成」之技術特徵。證據2多出了帶扣166此一元件,雖可穩固地固定振動馬達114,惟複雜之結構與繁瑣的組裝工序將墊高製造成本,反觀系爭專利僅需將該公黏扣帶52與該母黏扣帶54互相黏扣在一起並貼抵該包覆件30之底面36,即完成震動馬達40之固定,不僅構件成本便宜,且組裝工序簡單快速,可有效降低製造成本,均為系爭專利之有利功效。

法院見解:
依證據2說明書第[0054]段記載內容,可知證據2之柔性帶可調整長度,調整不同長度時,自能達到鬆緊之功能,即具有組裝快速、降低組裝成本,可簡易調整震動馬達之位置之功效,再者,證據2係藉由帶扣調整柔性帶的鬆緊,以將振動馬達組件懸掛到面板,即具有能穩固地固定震動馬達之功效,系爭專請求項1雖限定「支撐件係由互相黏扣之一公黏扣帶、以及一母黏扣帶所組成」,然無論用帶扣的方式或是用公、母黏扣帶的方式,其目的均為緊固震動馬達之用,自其功效並非無法預期。
結論:
有時委員引用的先前技術,技術元件用字或結構上不會完全等同於系爭專利,有時反而前案比系爭專利更複雜。通常專利權人就會主張先前證據“複雜之結構與繁瑣的組裝工序將墊高製造成本”或是主張兩者的結構上不同(如同本案是公母黏貼,證據是調整帶)。法官在判斷是否相同元件,並不完全以文字上的描述為考量,會考量該元件的目的、手段或效果等,判斷是否屬於實質相同,但是否前案成本高或本案成本低,鮮少被列入考量。
作者:江日舜專利師